Поляризатори: „Оптичните вратари“ на LCD екраните

Когато се възхищавате на живите изображения на LCD екран, един на пръв поглед обикновен тънък филм играе критична, но често невидима роля - поляризаторът. Този усъвършенстван оптичен компонент действа като прецизен "пазач", контролирайки щателно влизането и излизането на светлината, което го прави незаменим за технологията на течнокристалния дисплей (LCD).


Двупосочната светлинна врата

LCD дисплеите разчитат на модули за задно осветяване за осветяване. Основната функция на поляризатора е двойна:

Входящо филтриране (долен поляризатор): Преобразува хаотичната, неполяризирана естествена светлина от фоновото осветление в поляризирана светлина с еднаква посока на вибрация.

Контрол на изхода (горен поляризатор): Ориентиран обикновено на 90 градуса перпендикулярно на долния поляризатор. Светлината може да премине само ако молекулите на течния кристал успешно завъртят посоката на поляризацията, за да съответстват на „състоянието на преминаване“ на горния поляризатор, създавайки моделите светло/тъмно, които формират видимото изображение.

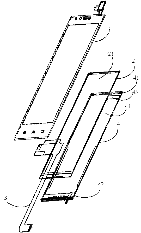
Прецизната петслойна "сандвич" структура

Поляризаторът е прецизно проектирана комбинация от пет функционални слоя:

TAC филм (триацетил целулоза - горни и долни слоеве): действа като "здрав щит" и "оптичен компенсатор". Осигурява физическа защита (устойчивост на надраскване, влага) и компенсира оптичните изкривявания благодарение на свойствата си за ниско оптично забавяне, осигурявайки чистота на цветовете и минимално изкривяване на изображението.

PVA филм (поливинилов алкохол - основен слой): "генераторът на поляризирана светлина." Чрез разтягане и боядисване (йод или дихроично), неговите молекулни вериги се подравняват, проявявайки силен дихроизъм – поглъщайки светлинни вълни от една посока на вибрация, докато предава тези, перпендикулярни на нея, ефективно генерирайки поляризирана светлина. Неговата производителност определя ефективността (степента на поляризация) и пропускливостта на поляризатора.

Лепило, чувствително на натиск (PSA): „невидимото свързващо средство“. Сигурно и равномерно ламинира поляризаторния модул върху клетъчния субстрат от течнокристално стъкло. Изисква висока прозрачност, дълготрайна стабилност, устойчивост на атмосферни влияния, некорозивност и минимално образуване на мехурчета/дефекти.

Филм за освобождаване: „Протекторът за транспортиране“. Предпазва слоя PSA от замърсяване и случайно залепване по време на производство, транспортиране и съхранение. Той се отлепва и изхвърля точно преди процеса на ламиниране във фабриката за панели.

Непрекъснато развитие за бъдещи изисквания

Стремежът към по-високо качество на изображението (4K/8K, HDR), по-широки ъгли на видимост, по-тънки профили и гъвкавост води до непрекъснати иновации в поляризаторната технология:

По-тънки профили: Приемане на по-тънък TAC или алтернативни материали като COP (циклоолефинов полимер) или PET филми.

Подобрена производителност: Оптимизиране на обработката на PVA за увеличаване на коефициента на пропускливост и контраст.

По-широки ъгли на видимост: Интегриране на филми за оптична компенсация за смекчаване на присъщите ограничения на LCD зрителния ъгъл.

Гъвкавост: Разработване на гъвкави поляризатори, съвместими със сгъваеми дисплеи и гъвкави OLED.


Относно CNK

Основана в Шенжен през 2010 г., CNK Electronics (накратко CNK) разшири водещата в света фабрика в Лонгян, Фуджиан през 2019 г. Това е специализирано и иновативно предприятие, специализирано в проектирането, разработването, производството и продажбите на дисплеи. CNK предоставя на клиентите пълна гама от рентабилни малки и средни дисплейни модули, решения и услуги с отлично качество в целия свят. Ориентирана към технологиите и високото качество, CNK държи на устойчивото развитие, работи, за да предложи на клиентите  по-добри и стабилни услуги.


Изпратете запитване

X
Ние използваме бисквитки, за да ви предложим по-добро сърфиране, да анализираме трафика на сайта и да персонализираме съдържанието. Използвайки този сайт, вие се съгласявате с използването на бисквитки от наша страна. Политика за поверителност
Отхвърляне Приеми